|
Есть вопросы? Наши квалифицированные специалисты готовы проконсультировать вас. Пишите свои вопросы или отправляйте заявку на нашу почту: gt@gigaterm.ru |
Задать вопрос
|
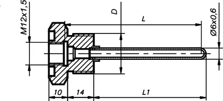
Гильза защитная ГЗ-6,3-4-1 предназначена для защиты термопреобразователей ТПТ?19, ЧЭПТ-3 и комплектов КТПТР-03, -06, -07, -08. Гильза рассчитана на условное внешнее давление Ру до 6,3 МПа. Предельная скорость потока, на которую рассчитана гильза, приведена в таблице.
|
Шифр |
L, мм |
Масса, |
Предельная скорость |
|
|
Пар |
Вода |
|||
|
ГЗ-6,3-4-1- 35 |
35 |
0,07 |
60 |
6 |
|
ГЗ-6,3-4-1- 45 |
45 |
0,07 |
60 |
6 |
|
ГЗ-6,3-4-1- 60 |
60 |
0,07 |
60 |
6 |
|
ГЗ-6,3-4-1- 80 |
80 |
0,075 |
30 |
3 |
|
ГЗ-6,3-4-1-90 |
110 |
0,08 |
30 |
3 |
Примечание
1) по согласованию с заказчиком длина гильзы и ее резьбы могут быть изменены.
Пример записи при заказе
|
ГЗ - 6,3 - 4 - 1 - 45 - G 1/2" |
|
||||||||
|
1. Условное давление Ру до 6,3 МПа |
|||||||||
|
2. Под термопреобразователь с диаметром монтажной части 4 мм |
|||||||||
|
3. Исполнение 1 (под ТПТ?19, ЧЭПТ-3 и КТПТР-03, -06, -07, -08) |
|
||||||||
|
4. Длина монтажной части термопреобразователя L, [мм] |
|
||||||||
|
5. Внешняя присоединительная резьба G 1/2" |
|||||||||

